网站指南
商家中心
神卡大全
搜索
登录
注册
我艹,这个域名这么火爆吗?【有图有真相】
BerSon
(
UID:
107)
2022-7-14
[复制链接]
帖子链接已复制到剪贴板
收藏
帖子已经有人评论啦,不支持删除!
2143
4
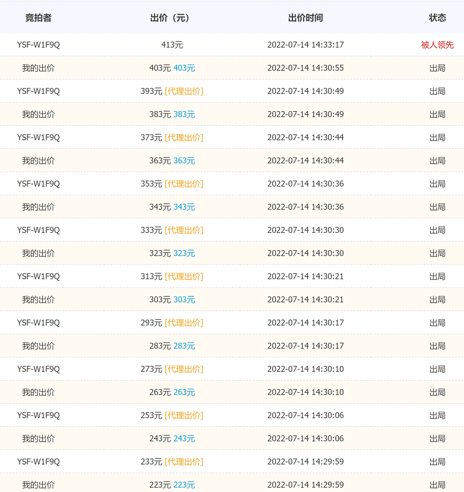
出价总是被瞬间超越。。。代理的价格不低啊。。。
这家伙太懒了,什么也没留下。
已有评论
(
4
)
只看楼主
倒序
提示:
您必须
登录
才能查看此内容。
创建新帖
BerSon
UID:107
737
主题数
6535
评论数
0
推荐数
Tips:
自助推广
(
点击空位自助购买
或
TG联系
)