网站指南
商家中心
神卡大全
搜索
登录
注册
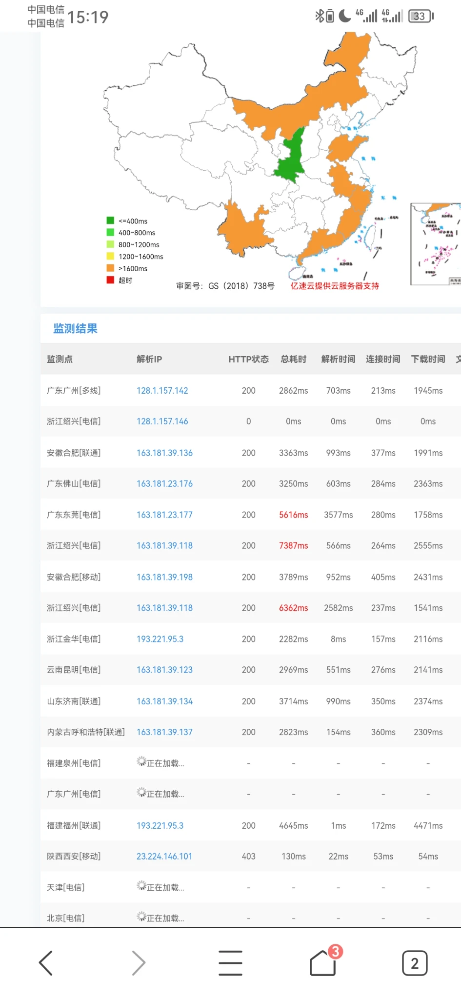
这阿里云cdn真是一点体验也没有,这么慢
dytt8
(
UID:
563)
2023-6-17
[复制链接]
帖子链接已复制到剪贴板
收藏
帖子已经有人评论啦,不支持删除!
1172
6
这速度。随便一个cdn都快,还是阿里云cdn
我檫。
我要不是暴露源站。打死不用。谁说阿里云cdn好的。
本站用的cdn我欠费了。哪里有香港cn2白嫖的cdn推荐推荐。。。
这家伙太懒了,什么也没留下。
已有评论
(
6
)
只看楼主
倒序
提示:
您必须
登录
才能查看此内容。
创建新帖
dytt8
UID:563
164
主题数
382
评论数
0
推荐数
Tips:
自助推广
(
点击空位自助购买
或
TG联系
)